With the launch of wireless XTR Di2 (and XT and Deore) the path is clear for Shimano to launch Shimano…
Shimano
The Singletrack Shimano Archive
The name Shimano is probably the most famous brand name in all of cycling, this Japanese brand is simply ubiquitous throughout the industry.
On this page you can browse and access every Shimano story, article and review we’ve ever published that features this most iconic of brands.
Whether you are a 10 year old getting your first bike without stabilisers or a seasoned pro on a bike priced in five figures, it’s a safe bet that the words ‘Shimano’ will be found somewhere on your bike.
Formed in 1921 under the name Shimano Iron Works the ‘Big S’ has shaped the world of cycling with bike designers around the world basing their latest designs around what this giant of a company releases each year.
Each year the latest technological developments trickle down to the gear levels below, effectively meaning this year’s Shimano LX users are riding the technology of the XTR riders just a few years ago.
As big as the brand is there is competition from the likes of SRAM and Campagnolo.

Olde Shimano XT: 1991 Cannondale EST SE 2000
During the Shimano Di2 press camp we saw this retro Cannondale EST in the flesh

My 10 favourite things about new Shimano XTR Di2
And two things I'm not so keen on. Here's a first ride review thoughts of the whole new Shimano XTR…

Shimano EX7 (EX700) Gore-Tex Shoes review
The Shimano EX7 (EX700) Gore-Tex shoes can be hard to find; searching for Shimano EX700 often results in the the…

Shimano commits $10 million to trail building projects
Shimano Trail Born Fund is a new initiative aimed at increasing and sustaining mountain bike trails and trail access around…

Fresh Goods Friday 706 – The Three Course Meal Edition
If you had to perform all three of the core dirt bike disciplines one after another, what order would you…

Shimano GF8 (GF800) Gore-Tex Shoes review
The Shimano GF8 (GF800) Gore-Tex shoe is billed as ‘ultimate cold weather shoe’. Designed for not only wet, but cold…

Megasack Giveaway Day 2: Shimano GF800 Gore Tex Shoes
It’s the second day of our Megasack giveaway. Are you excited? You should be! Going in the sack today, we…

Tracking The Health Of The Bike Industry In 2023
There are a lot of signs that the bike industry is going to struggle in 2023, so we thought we’d…

The Best Bits from iceBike* 2023
iceBike* is UK-bike-distributor-behemoth Madison's trade show. We popped down the road to Manchester to roundup the best bits.

Goodbye Deore? Hello Shimano CUES!
Big news for mid-tier mountain bikes as Shimano CUES enters the chat and kills off Deore, Tiagra, Alivio, Sora and…

Buyers Guide to Mountain Bike Shoes for Big Feet
We point you at decent mountain bike shoes for big feet. If you are looking for mountain bike shoes in…

Evolution (FILM): Why E-bikes Changed the Game
Andy McKenna of GoWhere Scotland and Stoked* On MS presents Evolution, a film produced with Shimano to share the pure…

Win a pair of Shimano ME7 shoes worth £180!
Another week, another chance to win! This time we’re giving you the chance to win a pair of snazzy Shimano…

Change gear without pedalling with Shimano FREE SHIFT
E-bike specific version of Shimano XT Di2 features 'Free Shift'. Put simply, this allows riders to change gear without pedalling.

New Shimano groupset features Anti Lock Brakes
Shimano have a brand new groupset out called CUES Di2. It's designed principally for e-commuters and features an Anti-Lock Braking…

Shimano SLX M7120 disc brake review
The brake that felt like the best combination of top-end power and all-over feel was the Shimano SLX M7120.

Shimano’s 2021 operating income up 80% over 2020
Although it's pretty tricky to discern what any sort of net profit was made, by any stretch 2021 was clearly…

Thousands of Shimano parts stolen from gassed lorry driver
From Shimano to The Sopranos: Organised Crime Sets Sights on Bike Parts Bikes being stolen from shops and garages is…

Review: Shimano MW7 Winter Boots – No excuses boots for winter riding
These Shimano MW7 winter boots are designed to remove any excuses you have about winter riding. Forget ‘it’s too cold’…

Bike Check: Patrolling The World With David Cachon
There aren’t many riders who can claim to be a 2 x Trials World Champion a Guinness World Record Holder,…

Video: A Dog’s Tale by Shimano
Dogs or cats? Clips or flats? Pineapple and ham or pepperoni? There are a few topics of conversation bound to…

Shimano launch huge 220mm discs for 10% extra stopping power
If you’re in the market for more powerful anchors then check out these oversized discs from Shimano. Disc brakes are,…

Shimano: All Bodies on Bikes
Earlier this week we brought you a lovely warm fuzzy video from Focus that featured riders from across the world…

Shimano ME502 Review – An all round trail riding shoe?
Updated for 2021, The Shimano ME502 (or ME5 for short) can be found nestled in Shimano’s Enduro/Trail category along with…

Best Hardware | 2020 Singletrack Reader Awards
Vote for your best hardware product in the 2020 Singletrack Reader Awards. Will be be Rockshox, Nukeproof or Shimano? It’s…

Shimano GR5 Flat Pedal Shoe Review
The Shimano GR5 flat pedal shoe is an affordable mountain bike shoe perfect for dry Summer conditions. Shimano has a…

2 Bikes, 3000 Midges, 1 Puzzle | Fresh Goods Friday 510
Fact: 3000 midges makes a meal for a bat. This means that on Tuesday night there was enough food in…

FGF 508 – Fresh Goods Friday Of Hope
OK, we’ve had a couple of weeks of rain, yes, it’s good for the plants and all that. Has anyone…

Cycling Geeks Unite! Shimano Celebrates 25 Years Of The SPD Sandal
There’s no easier way to suddenly age 25 years than by putting on a pair of these beauties! And in…

The Kids Are Alright – The Riders of The Future
Shimano teamed up with Cam McCaul to look at what made him a rider, and the mountain bikers of the…

Shimano ME700 Trail SPDs Upgraded. Leisure Pedals Get Colours
Shimano’s fixed cage, entry level trail pedals, the M530s are getting retired, to be replaced by the new dual sided…

SuperBoost And Flat Mount XTR – Things You Didn’t Know You Needed
On the same day that Shimano announced its new 12 (and 11 and 10) speed Deore groupset, it is also…

Shimano new Deore M6100 Goes 12 Speed. And 10 and 11…
Probably one of the most easy to guess developments this year was that Shimano Deore would be going 12 speed.…

Shimano XTR Groupset | Premium Components Punished Through Winter
It’s no secret that Shimano was a bit late to the game with their 12 speed drivetrains. While the other…

First Look And Competition: Win Shimano XC501 Fast Trail Shoes
Price: £139.99 From: Freewheel We’ve got a first look at Shimano’s new XC501 fast trail shoes and a chance to…

Fresh Forks Friday 495 | 4 new bouncy forks in time for Spring!
Hey, listen up! We know we had to remind you last week when it got to Friday, but now it’s…

iceBike* 2020 – News from Thule, Park, Pro, Lazer and more
We’ve just been spending the day down in windy Milton Keynes for iceBike* 2020, Madison’s house show where it had…

Forget Love, This is Where The Hot Stuff Is | FGF 487
Chipps is back from holiday, Andi is on holiday, and Hannah is about to go on holiday. We are like…

Fresh Goods Friday 484 | Flashy bike, full-face, and spendy rims!
Another riveting episode of Fresh Goods Friday featuring spendy carbon bits, the latest head protection, and powerful new Shimano stoppers.…

Top 10 Most Read Singletrack Stories of 2019 | Hacks, reviews, and tech
With another year behind u, we delve into data to bring you the 10 most read Singletrack Stories of 2019!…

Singletrack Editors’ Choice Awards | Andi
Over the last year, our writers have tested a bucketful of bikes, a barn load of clothing and gear, and…

Fresh Goods Friday 479 | Santa Comes Early!
Santa? Wait? What? That’s next week? Erm, OK. If you could just read on quietly while we nip out to…

Christmas Countdown Day 12 | Win A 1×12 Shimano SLX Groupset!
On the 12th day of the Singletrack Christmas Countdown Freewheel gave to us! A full Shimano SLX 1×12 drivetrain! Freewheel.co.uk…

Christmas Countdown Day 8 | Win Shimano MW701 Riding Boots
It’s not the time to have cold feet, enter day 8 of the Singletrack Christmas Countdown for your chance to…

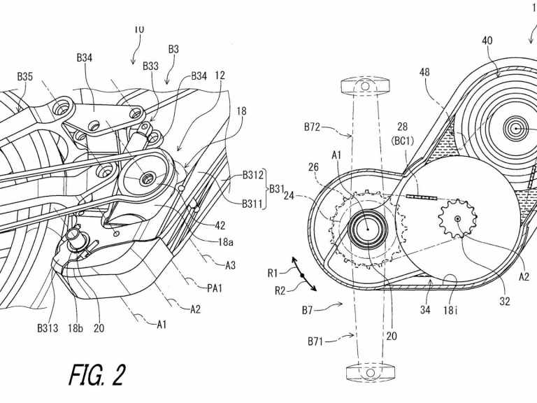
13 speed Shimano gearbox patent uncovered
It took Shimano years to jump on the 12-speed bandwagon, and now after just 12 months, they could ditch 12…

Fresh Goods Friday 453 – At Least We Have Eccles Cakes Edition
Could that be summer, peeking its little sunny head round the corner? Or is it just the glint of our…

Fresh Goods Friday 452: The ‘Wil is Going Home’ Edition
We are sad to announce that the time has finally come to bid farewell to Wil. He washed up on…

Stan’s & Hope Respond To Shimano Micro Spline Licensing Frustrations
Hub manufacturers express frustration at Shimano’s tightly-controlled licensing over Micro Spline freehub standard Last year when Shimano released the XTR…

Live Q&A On The New Shimano 12-Speed Deore XT & SLX Groupsets
Send us in your questions on the new Shimano 12-Speed XT & SLX groupsets! In case you missed one of…