XTR 1x12...10-51 ca...
 

  You don't need to be an 'investor' to invest in Singletrack: 6 days left: 95% of target - Find out more

[Closed] XTR 1x12...10-51 cassette

196 Posts
76 Users
0 Reactions
1,319 Views
Posts: 0
Free Member
 

I’m dreading when road bikes have a single chainring.

I do like it on my CX bike though.


 
Posted : 25/05/2018 7:15 pm
Posts: 33980
Full Member
 

Pretty smart they've gone with Dtswiss (best hubs around) for the freehub.

As said above im looking forward to the  slx version on my bike in 2020

Dropper lever looks nice, maybe they have their own real version on ...

Freehub sounds interesting, cup & cone still shit tho!


 
Posted : 25/05/2018 10:17 pm
Posts: 13771
Free Member
 

They haven't... DT are producing a compatible freehub for their own wheels. Hope and others will no doubt do the same


 
Posted : 26/05/2018 10:30 am
Posts: 1724
Full Member
 

They've moved to a ratchet mechanism in the XTR hubs though which is a DT Swiss patent I believe.


 
Posted : 26/05/2018 11:43 am
Posts: 0
Free Member
 

Actually, Scylence is Shimano's own patent.


 
Posted : 26/05/2018 12:06 pm
 sb
Posts: 0
Free Member
 sb
Posts: 0
Free Member
 

I made the mistake of buying a hope 10-48 cassette to go with my m9000 xtr and regretted it ever since so I’m looking forward to the new XTR gear set up for complete flawless gearIng.

And unlike other products in the world of mtb at least it’ll be around for 2-3 years as opposed to being superseded in a maximum of 12 months.


 
Posted : 26/05/2018 3:09 pm
Posts: 0
Free Member
 

Unless Shimano have done something really insanely clever, I think the best you can hope for from Hope is a freehubs body with the right splines. Can’t see them ditching their pawl arrangement for ratchets no matter how much of a better idea it is. Ditto most of the other pawl-based aftermarket hub mfrs.  If the pricing is right Shimano may have just given their hubs a huge sales boost to the detriment of everyone else...


 
Posted : 26/05/2018 5:02 pm
Posts: 5661
Full Member
 

So, SRAM...

eTAP? *Taps fingers impatiently*

I just want to know how much I can't afford it really... 🙁


 
Posted : 26/05/2018 7:20 pm
Posts: 2514
Free Member
 

Actually, Scylence is Shimano’s own patent

Doesn't prevent it also infringing someone else's.  Though I have no idea what the DT patent claims.


 
Posted : 26/05/2018 7:38 pm
Posts: 3757
Full Member
 

It’s far closer to the Chris King freehub design than the DT one, but unlike the CK ones is if claims are true.


 
Posted : 26/05/2018 9:07 pm
Posts: 2808
Full Member
 

Doesn’t prevent it also infringing someone else’s.  Though I have no idea what the DT patent claims

pretty confident shimano have shit hot IP protection.

if they wanted to really clean up, they should make it half the price of the sram cassette. which is stupid expensive for a consumable drivetrain item.


 
Posted : 27/05/2018 2:07 am
Posts: 3184
Full Member
 

They will clean up with XT and SLX.

Look nice, but need to be DI2 for me. If I am going to ré mortgage the house for a drive train might as well go for the max.


 
Posted : 27/05/2018 6:28 am
 MSP
Posts: 15473
Free Member
 

Are there any prices and availability dates yet?


 
Posted : 27/05/2018 7:33 am
Posts: 3757
Full Member
 

Most parts are due in October.


 
Posted : 27/05/2018 7:43 am
Posts: 21461
Full Member
 

Anyone know if the aluminium cassette section will be available separately? I go through a couple of the hope ones a year which is pretty bad, but having to bin the whole cassette because of 3 cogs seems a bit much.


 
Posted : 27/05/2018 8:04 am
 MSP
Posts: 15473
Free Member
 

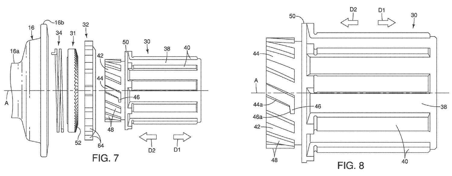
In the pictures it looks like a one piece pinned cassette.


 
Posted : 27/05/2018 8:25 am
Posts: 20675
 

In the pictures it looks like a one piece pinned cassette.

ive seen vids where it’s 3 lots of three, then 3x1 at the lock ring end. I think...


 
Posted : 27/05/2018 8:36 am
Posts: 21461
Full Member
 

It does, but there's some copy in the pink bike write up that suggests otherwise.


 
Posted : 27/05/2018 8:37 am
Posts: 17
Free Member
 

They will clean up with XT and SLX.

What in 2021? Still no pricing so I bet it will be at the xx end of things. And what's the chances of this being the XTR freehub and there being another xt one


 
Posted : 27/05/2018 9:10 am
Posts: 5299
Free Member
 

Pointless.

An exercise in trying to separate you from your money.

Who here has really thought they need more range from 1x10 or even 1x11?

If you can’t get the gears you want from 10 or 11 then 12 isn’t suddenly going to make the difference - likewise 50 to 51!

As for another standard??? They can F right off IMHO.......


 
Posted : 27/05/2018 9:23 am
Posts: 2514
Free Member
 

Me, I would like more range than my 1x10.  And I don't like the gaps between gears neither, so going to one of the not-available-when-I-got-my stuff 46t 10 speed cassettes would not be optimal and anyway I have 11-46 11 speed on my other bike and I could do with an extra gear there and all.


 
Posted : 27/05/2018 9:42 am
Posts: 20675
 

Pricing was on the mtbr article wasn’t it? It’s a bit cheaper than XX1 eagle


 
Posted : 27/05/2018 9:47 am
Posts: 5299
Free Member
 

"Me, I would like more range than my 1×10."

Then you are a more sensitive machine than I & the bike industry will happily relieve you of your money with each little incremental advance/standard change.......


 
Posted : 27/05/2018 10:22 am
Posts: 17
Free Member
 

“Me, I would like more range than my 1×10.”

Then you are a more sensitive machine than I & the bike industry will happily relieve you of your money with each little incremental advance/standard change…….

I got GX11, it was fantastic, price was good and the longevity was a welcome change. The Range was great too. I'll be going GX12 Next as I am happy at that price and longevity.

Not evening thinking about XTR or XT for a while until they can prove it's got something SRAM doesn't.


 
Posted : 27/05/2018 10:43 am
Posts: 7167
Full Member
 

The pic of the cassette 'appears   to have  a very smaall contcat area with the freehub body, just  a feww mm inboard and outboard. Might be OK if its  steel /steel , but its XTR so it won't be. Then  if this is the case, why have the  shimano weight weenies not machined off the splines  in between the contcact area, as  the  are not  in contact with anything but thin air. OK  might be rigidity ,but i have never heard of mythical  freehub body flex .


 
Posted : 27/05/2018 11:41 am
Posts: 2514
Free Member
 

Then you are a more sensitive machine than I & the bike industry will happily relieve you of your money with each little incremental advance/standard change…….

No, I would like it, I don't have it.  I put up with what I have, and will continue to do so until it wears out.  So the bike industry is going to have to wait a couple of years probably,  Sooner than that if I smash a rear mech possibly.


 
Posted : 27/05/2018 11:43 am
Posts: 1617
Free Member
 

All I am going to say is hurry up and bring out XT 12 out. Have a GX Eagle set up here I was about to fit but now thinking of returning it and sticking with 3x10 XT and 1x11 XTR (was going to ditch the 3x10 on my 29er). Really not sure I like SRAM stuff, shimano feels more engineered to me.


 
Posted : 27/05/2018 11:48 am
Posts: 17
Free Member
 

All I am going to say is hurry up and bring out XT 12 out.

This is released now for Oct in the shops? So 2019 Bikes, give them a year? So an XT version hitting the shops no earlier than end of 2019, another 6 months before anyone offers a discount on it?

Really not sure I like SRAM stuff, shimano feels more engineered to me.

Have you tried any recently? General consensus appears to be 11 & 12 is different to the 10sp and shimano have not been there on the 11sp.

Anyway having seen some weights around 367g for the 10-51  cassette and £290, the 10-45 310g £250

XX1 Eagle 360g Can't see a price

XO1 Eagle  according to bikeroumor about the same CRC have them for £265/RRP£300

GX £131 & 448g

https://www.bikeradar.com/mtb/news/article/shimano-xtr-m9100-m9120-price-weight-details-micro-spline-freehub-52337/

Personally I'd have the 2 GX cassettes for the XTR money 😉


 
Posted : 27/05/2018 11:57 am
Posts: 1617
Free Member
 

Running a mix of XT/XTR 11 speed and have GX Eagle sat here in a box and have tried Sram 11 speed on friends bike. Prefer the levers on Shimano but I admit the Sram feels nicer to shift than Shimano 11 speed.

Sunrace 11-50 cassette about £60 so cheaper than anything else, bit heavier than the other options but it's a consumable and I am carrying more than a few extra grams.


 
Posted : 27/05/2018 12:00 pm
Posts: 15261
Full Member
 

They will clean up with XT and SLX

They might, but I can't help thinking SRAM still have a big head start... XTR obviously isn't going to be the product that breaks their slump, it's got to be XT, and SLX 12 needs to follow closely behind to help capture the "mid-spec" market.

Of course looking ahead will it really be ~3 years before Deore get 11 sprockets? And will they be on a Micro-Spline freehub? They need a product to match NX on £1k to £1.2k bikes. M6000 hasn't been out long, but SRAM already had it beaten at what is possibly the most important part of the OEM market...

IMO they need to accelerate the old "trickle down" strategy if they want some market share back...


 
Posted : 27/05/2018 1:31 pm
Posts: 65918
Full Member
 

Mrlebowski wrote,

<div class="bbp-reply-content">

If you can’t get the gears you want from 10 or 11 then 12

It isn't really about the number of gears, more about the range. I have 10 speed with 11-42 on one bike, 11 speed with 10-42, and then eagle with 10-50. I don't care that one has 10 and one has 12- and I'm not really bothered about gaps, within reason- but that's 380%, 420% and 500%- I don't think anyone can deny that's a useful difference tbh, it's like changing from a 32T front ring to a 42.

Not all bikes need a lot of range- my fatbike doesn't need high gears because it just doesn't need to be pedalled that fast,it needs low because it's draggy. My old Soda didn't need low gears because it weighed 20lbs and had race tyres, braaaaaaaaap. But my Remedy, it wants to be pedalled flat out downwards and then winched back up otherwise, it wants gears on both ends and 500% is enough that there's really no compromise for me. (10-42 was almost enough)

</div>


 
Posted : 27/05/2018 3:30 pm
Posts: 4359
Full Member
 

It’s also about the jumps between those 2 extremes. The more gears available, the smaller the jumps. Helps keep a consistent cadence.


 
Posted : 27/05/2018 4:21 pm
Posts: 0
Free Member
 

I got GX11, it was fantastic, price was good and the longevity was a welcome change. The Range was great too. I’ll be going GX12 Next as I am happy at that price and longevity.

GX12 is worse than GX11 in my experience. 850km over 3months so far and one mech down and two chain links. It also shits itself occasionally and jumps right down the cassette for no reason I can fathom. If you have no real need for the range (i.e you don't race/sprint around fire roads/have herculean quads so you can't just put a smaller ring on the front to get you the low end) then i'd probably go GX11 or save for X01 11 (if you want to stick with SRAM).


 
Posted : 27/05/2018 5:54 pm
Posts: 3757
Full Member
 

“Anyone know if the aluminium cassette section will be available separately? I go through a couple of the hope ones a year which is pretty bad, but having to bin the whole cassette because of 3 cogs seems a bit much.”

I expect so - they sell spare sections for existing modular cassettes from SLX/XT/XTR/Ultegra/DuraAce.


 
Posted : 27/05/2018 7:44 pm
Posts: 24332
Full Member
 

Pointless.

An exercise in trying to separate you from your money.

Not sure you understand the retail business model


 
Posted : 27/05/2018 7:53 pm
Page 3 / 3

6 DAYS LEFT
We are currently at 95% of our target!