will it be as good as electronic skis ? 🙁
I don't really understand why everyone is getting up in arms about this. To me it seems like a good idea, although the first iteration is a bit clunky. Eventually an electronic switch will be able to control fork dampers better than the current systems in use, it'll save weight and allow less faffing about with dials and switches. It's called progress, and I welcome it.
Laser beams could be used to analyse the ground ahead of you and adjust the suspension accordingly. I think you have seen the future.
Hmmm electronics,rain,mud. Now thats a nice mix there....
Avdave, patent pending.....
avdave2 - Member
Laser beams could be used to analyse the ground ahead of you and adjust the suspension accordingly. I think you have seen the future.
That implies the bike is pointing the same direction I'll actually be going 😆
As long as muppet who can't ride for fecal matter will be here to buy it because they can't stick to what they have, these sort of things will always be "needed".
I'm up for lasers.
juan, can't you afford it? 😉
Maybe it will be capable of smoothing out all the bumps so you won't even be able to tell if your riding off road or on smooth tarmac.
Well I probably could however I fail to understand how it will imporve my riding? Plus I might in the near future have no voices to what I put on my bike in terms of suspension and wheels :'(
I was idly thinking while riding during the week that my shocks could be wired up to my dropper post. When it's all the way up I'm climbing, when it's all the way down I'm descending and the damping and travel could be set accordingly. When it's in the middle then I'd want some middle setting. Patent pending.
nickjb - Member
I was idly thinking while riding during the week that my shocks could be wired up to my dropper post. When it's all the way up I'm climbing, when it's all the way down I'm descending and the damping and travel could be set accordingly. When it's in the middle then I'd want some middle setting. Patent pending.
Now that sounds like good stuff, bring the marketeers in! Patent it now!
No no no no no you're all wrong. Less is more, you need to do things the Apple way using technology, integration and simplicity. I've designed in my head a black box that uses GPS to know exactly where you are. It then adjusts the suspension via NCS according to the terrain. It also links to the Met office and National Geographic HQ to detect past/current/future weather patterns and via Nat Geo understand how this has affected the terrain where you are riding.
Vis a vis, perfect suspension all the time with no buttons that require pressing at all. I call it iTravel*
*patent pending
Nice one Kryton, you could wire it into the brakes so it slams on the anchors just before corners and steep sections and save you having brake levers.
Proflex fitted electric shock gizmo's in the 90's.
Noleen smart shock . They were rubbish. Ate betteries and failed when used in the rain .
I cant remember what they were supposed to do , sense when the going got rough and soften up IIRC.
The cloud is the future. Your bike will come with an app that will use GPS to determine where it is (what trail you are riding), check the weather, and start the appropriate threads like "what tires" and "what suspension settings" on STW. It will then use this crowdsourced data to adjust your suspension settings while you ride.
The app will have a built-in female voice to to tell you ride time and mileage, how much your bike cost, what you are doing wrong...
I don't know much about patent law, but this is just the management system of a car applied to a bicycle. Surely that doesn't constitute patentable innovation?
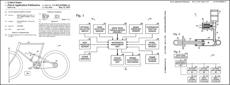
too small to read, but seat pressure sensor, drive train torque sensor, "other sensors". i count 6+. are these just ideas to patent (obvious surely?) or they planning on using all that?
and what swingbing said. this just looks like "we'll connect sensors to the computer" well yeah.
The morons who didn't read the manual and couldn't be bothered to learn how today's suspension works are exactly the same morons who won't bother to read the manual for their shiny new electronic suspension.
Fat and fully rigid must be the future coz it just looks soooooo fun.
Looks good.
I don't know much about patent law, but this is just the management system of a car applied to a bicycle. Surely that doesn't constitute patentable innovation?
You can patent pretty much anything, we're in an odd situation at work where we've come up with a good idea, proposed it to the client, they don't want it. So they own the idea as it was thought up on their time, but don't see any value in it.
[b]The cloud is the future. Your bike will come with an app that will use GPS to determine where it is (what trail you are riding), check the weather,[/b] and start the appropriate threads like "what tires" and "what suspension settings" on STW. It will then use this crowdsourced data to adjust your suspension settings while you ride.The app will have a built-in female voice to to tell you ride time and mileage, how much your bike cost, what you are doing wrong...
Excuse me, I patented that bit in bold. Thats a million pounds you owe me. I'll allow you to licence the rest as an app that goes on my device though. Send me a £100,000 to my paypal account immediately and I'll email you back a certificate.
Lasers you say?
http://www.commutebybike.com/2012/02/06/laser-lite-lane-a-bike-lane-wherever-you-ride/
How about high powered lasers to literally smooth the terrain ahead of you?
Or white van sensing laser systems to improve on road riding?
Connect it all to strava via smartphone and have direct comparison on speed, gear ratios, suspension settings, heart rate, etc......
I don't understand the furore about the ICT system. Obviously the Patent is a fully controlled system for all aspects of bike handling / adjustment - thats simply so they have absolutely every base covered in the patent.
At the moment ICT is effectively just an electronic system to control the CTD adjust on a fork and shock simultaneously, albeit without the T setting via an electronic servo actuated system rather than a mechanical system.
Ok you can set it up with different tune's for compression etc. So how is that different to setting hi / lo speed compression damping on a fork and having a poploc or other remote to control travel adjust / lockout.
is it powered on scotch eggs or 5 for a pound snickers bars? over distance I mean...

