A recent Shimano patent describes an automatic dropper post with additional wireless control.
Yes, automatic and wireless!
Electronics are being integrated into bikes at a much faster rate than ever before. There are eBikes of course, but we’re also seeing technology shift and migrate to our gears, suspension, and even tyres!
Dropper posts haven’t escaped the tech revolution either with both Magura and SRAM releasing wireless, electric dropper posts over the past few years, and now a recent patent filing suggests Shimano might be on a similar path.
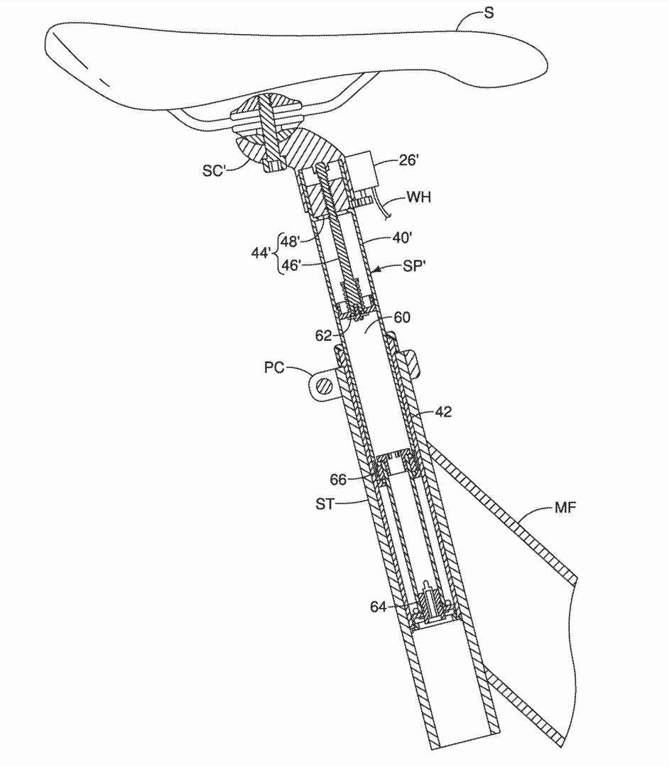
The Patent which was filed in the United States and is simply titled ‘Bicycle Control System’, reveals the idea of an electronically controlled dropper post that rises or drops as electronic actuators are triggered.
Nothing too astonishing there, but read further into the details and you’ll see a neat feature built-in.
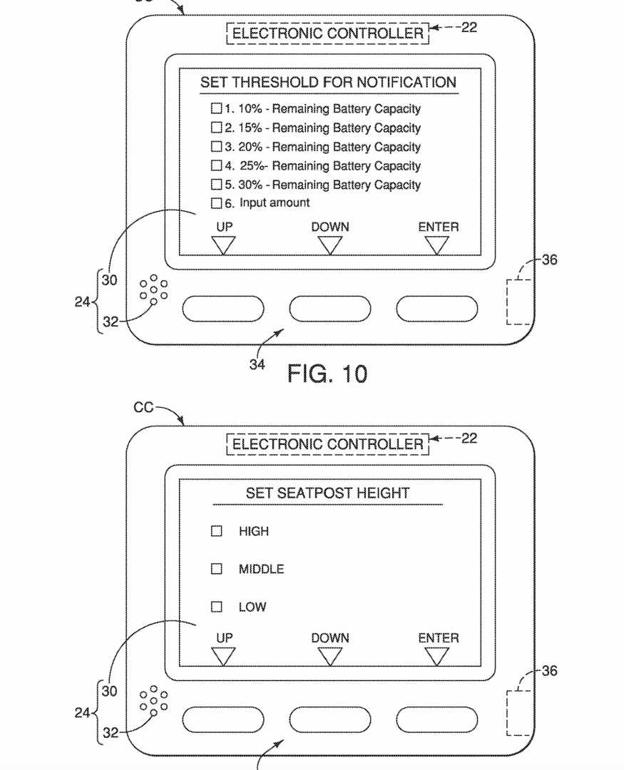
The Patent describes how this Shimano electronic dropper post can be adjusted manually, but also set to adjust automatically based on the condition of the battery powering the system.
For example, if the system is set to activate once the power supply drops to just 20%, the dropper will automatically adjust to the preset height. The idea is that even if you completely drain your battery the system can adjust your saddle to an optimal height that won’t prevent you from continuing on with your ride.
Previous patents from Shimano described a dropper post that can be both raised and lowered via motor, and it looks as though the same concept is used in this patent too.

What isn’t referred to in the filing are diagrams of an electronic control system that included connections to front and rear derailleurs and also front and rear suspension. Patents discovered back in 2018 described how an electric dropper post could be connected to gears and suspension for further automation, and how the dropper post might react in relation to suspension compression and gear choice.
Back to this new filing. The Patent also indicates that the system will feature a handlebar-mounted display for setting up the controls, and a built-in speaker for an auditable warning before the dropper automatically moves to position.
There is also mention of wireless communication with the description detailing how the computer system can either use wireless communication or dedicated signal lines (wires) to communicate.

However, a 2nd recently filed patent goes into more detail about the wireless dropper post control and reveals a traditional lever style controller with electronic and wireless technology housed inside.
In accordance with a twentieth aspect of the present invention, the bicycle operating device according to any one of the first to nineteenth aspects is configured so that the controller includes a wireless communicator. The wireless communicator is electrically connected to the first electrical switch and the second electrical switch to wirelessly transmit the first control signal based on the first signal pattern. The wireless communicator is electrically connected to the first electrical switch and the second electrical switch to wirelessly transmit the second control signal based on the second signal pattern.
With the bicycle operating device according to the twentieth aspect, it is possible to wirelessly operate a bicycle component.
Patent 10562585
Both of these Patents were filed in the past few weeks, so it’s clear that Shimano isn’t about to release its own AXS rival in 2020, but this could mean a 2021 MY launch just in time for the 100th Anniversary of the Shimano company.
What we await now are patents that confirm the existence of a wireless Shimano drivetrain, a system that would directly rival the complete SRAM AXS gear system.
Hmmm – recent IceBike news story mentions secret Shimano product briefing, now STW digs up an old Shimano patent about wireless shifting. Am I spotting a pattern here?
@thepurist “Both of these Patents were filed in the past few weeks, so it’s clear that Shimano isn’t about to release its own AXS rival in 2020, but this could mean a 2021 MY launch just in time for the 100th Anniversary of the Shimano company.”
Icebike secret is MY20 😉
Doh – saw something in there that referenced 2018 patents too. I’ll put away the deerstalker…
i suggested something similar when dropper posts first materialised. Doh!
Shimano have had a patent for an electronic dropper post for years and have done nothing with it. Personally I think they are just trying to hog patents. Same as Specialized have a patent for an automatic mechanical dropper but have said they are not going to release it.